找回密码
 立即注册
澳门威尼斯人
U8
U18
海燕招商
A
蓝盾
e世博
islot.
申博亚洲
澳门银河
B
开云
腾博会
德信
C级广告商
吉祥坊
华体会
查看: 84923|回复: 16

[百科] 拉斯帕尔马斯竞技联盟足球俱乐部

 火.. [复制链接]

1万

主题

3322

回帖

8388

金币

版主

积分
44186

美女勋章优秀版主老会员版主勋章超级精华

发表于 2025-2-11 09:01 | 显示全部楼层 |阅读模式

马上注册,结交更多好友,享用更多功能,让你轻松玩转社区。

您需要 登录 才可以下载或查看,没有账号?立即注册

×
拉斯帕尔马斯体育联盟(UD Las Palmas)是一家位于西班牙加那利群岛拉斯帕尔马斯市的足球俱乐部,成立于1949年,主场位于大加那利体育场,现参加西班牙足球甲级联赛。
) k2 w+ C, z, q1 ?" Q  |; H
0 V# s& ?2 \) {& b& \/ H  X5 v( _4 y1 w0 }" j 02.png
% c: S4 M5 n; D6 n
0 ?( m' T2 ]8 p) t* |/ B
  q* e+ n: y6 I2 U, V" V. i2024年11月,西甲第15轮,拉斯帕尔马斯时隔41年再度在客场对阵巴萨的比赛中打入2球
: G' ?: P  Y4 _- ~9 m
, I6 N* ~; m' O 03.png
9 U; q5 v. q1 k
9 h6 }, D1 e% ]# L发展历程:5 r( f3 k- l1 I4 j% @2 I4 _* c
Vis unita est fortior(49-51年)
6 r6 J+ k5 v7 g$ \" `联盟的需要
+ X0 A3 C2 \+ h0 V拉丁俗话说得好,“团结就是力量”。这个标语就是直接跟UD拉斯帕尔马斯有关的。
+ s; U3 s5 v5 ?. e/ K9 R明白最后四十年的加拿利群岛的足球情况可以更好地了解这个俱乐部的历史。加拿利群岛素有足球人才。有天分的玩家们,国际俱乐部都心痒痒他们。四十年代的时候,很多玩家的人迁移了加拿利群岛外面的足球队因为在那个的时候本地俱乐部没办法支持他们。' T& {- e& u+ K8 D- ]+ e
拉斯帕尔马斯俱乐部的创造过程结束了那个形式 。那个的时候在岛上有了五个小足球队(Marino,Victoria,Gran Canaria, Athletic和Arenas)。他们就联手了和创了一个代表的足球俱乐部。' Z1 {3 T/ B) _9 G) v

0 y) D! X! P) Z  k' d0 g甲级联赛的准入:足球的一体化2 s+ X9 }0 H( K: R- W* b& `
新代表俱乐部的创造跟甲级联赛准入的申请书在一起演变过。那个的时候就本地人可以加入这个俱乐部。准入让拉斯帕尔马斯俱乐部参赛西班牙足球甲级联赛了。' W  l! s4 P$ c1 f5 }
1 ?" e  D. L2 {9 S! T6 {) j
Manuel Rodríguez Monroy先生,地区足球联邦的副总统建议了这个一体化的思想。他想到了全部拉斯帕尔马斯岛的足球队在一起可以了催谷足坛在这个岛上。
3 v$ m9 \: Q8 C* `  w
7 {+ q) a2 f) a$ M7 X- L( l经过谈判的一个漫长的过程,1949年6月的时候,西班牙足球联邦认可了拉斯帕尔马斯俱乐部的申请书。所以从那个的时候他们能在西班牙足球甲级联赛参赛。两个月后,8月22号的时候拉斯帕尔马斯俱乐部出生了。所以一个新的委员会开始了经济这个俱乐部。这个两个内容催谷了大加那利岛的足坛。
4 w6 J7 }6 c1 E. x0 \. z) g7 o) ^) D. |+ {
到了西甲第一师很快
  e# B8 u! G  p# P0 \1949年9月16号拉斯帕尔马斯俱乐部开始训练。Pablo Arencibia绅士选取了大加那利岛最好的玩足球人和做过一个足球队。黄色队表演了一个很好的赛季所以他们升官了到第二师。下一个赛季它们也表演得很好所以他们升官了到第一师。UD拉斯帕尔马斯就需要了两个赛季和他们达到西班牙最高西甲。
6 m: }7 S- A& d
8 t( d7 g: f) ]1 S+ B1 b流行在西甲第一师和第二个乔迁(51-54年)( s. z+ K: K3 z+ s: G0 G
西甲第一师的回程机票
2 S' p  d- I3 n2 MUD拉斯帕尔马斯的第一个升格很短, 就一个赛季。拉斯帕尔马斯俱乐部下去了到第二师可是他们还要了跟西班牙最好球队在一起比试。应为他们,大加那利亚岛的名字变得很有名。这个俱乐部在1952-53年的赛季开始了在第二师一个新的进程。他们真要了再生在第一师,可是在那个赛季他们就将近上去了。
3 v* i. t+ Y: J3 u4 k
+ f% D8 G% {0 O9 R; g$ X第二企图在荣耀师
1 ?* U& g- z( w: T5 ?在1953-54年的塞利,UD拉斯帕尔马斯再升级到第一师了。Heliodoro Rodríguez的平局帮助了拉斯帕尔马斯俱乐部升级。. `$ m$ x5 ?& L' O- |( @
俱乐部的五十年代棒极了(54-60)
9 g; W3 [1 |3 S4 b% h, j  T# I; ?+ f2 w7 R# B; C1 ]
稳定性在第一级4 t" u& H& e2 T- e! G4 a3 b
拉斯帕尔马斯俱乐部的第二企图是过他们稳定性的开头,应为三塞利前以来他们惨遭一些兴衰。1954-55年的塞利是在第一级得到职位的良机。六个塞利以后他们还延续了在第一极了。$ N0 s0 Q5 X$ B# w; M# X, R/ I
/ r$ e- l: v- j
在1955-56塞利,UD拉斯帕尔马斯的开头很拔尖。他们得到了第一个公知。可是塞利的第二轮的成效不一样,他们将近下去了到第二师。
3 T$ Y! V/ N; p) {/ E3 U那些年的时候,拉斯帕尔马斯俱乐部的风格很可贵。黄色球员很优异了。他们的式样博得了观众热烈的掌声。# J7 H% o- k8 U, D' U# [( E# X

8 v' W% N4 @& R1 |2 w+ G: m5 H% X8 |2 f梦想终点  q1 @; G8 Y( Z! F
1956-57年的赛季Alfonso Silva和Rafael Mujica从马德里竞技足球俱乐部回来了。这个两个人的风格加UD拉斯帕尔马斯的方法营造对那个赛季一个号的球队。这个赛季收场的时候在结果表他们的地位太低了。两个塞利后他们还将近下陷了。在第一个,最后天UD拉斯帕尔马斯获取了耐力的权利在第一师。下一个赛季的时候,他们打败了莱万特足球俱乐部所以他们也可以了留起来他们的职位。
, g( J% O' ^% X$ H$ }
; e" `% G& c3 e; d7 Z5 ~黄色球队的金子时代
) J8 \+ t( h) {+ o% V( O8 C2 E金子时代的困难气头) I3 J% K, H; m
UD拉斯帕尔马斯下去第二师的时候渡过了南关。他们开始了雇佣衣鞋外国足球运动员所以拉斯帕尔马斯俱乐部丢失了他的身份。6 E7 A* V# e1 }0 \$ m& _7 g2 k
/ _( H- C4 D% B- c# \5 q, H
然而,一些新足球运动员的一代在俱乐部的学校出生了。这个大事允许了拉斯帕尔马斯俱乐部高达他的最好时候。
) K$ F1 n; B+ t3 h, o
  ]0 u( n7 B- n8 q为了那些事情,“金子时代”越来越有名。大加那利亚岛的球队可以了在第一师延续十九个赛季。他们做到了获奖Copa de Ciudades en Feria 。0 O" y1 [2 n# t: V0 S) ]

& u. Z: |6 O: N金色男孩做历史
' Z  y& V9 Y# s( g, }1963-64赛季的时候,拉斯帕尔马斯俱乐部有Vicente Dauder大致走向的时候,达到他的第三提拔到第一师。这个大事情让俱乐部开始一个很厉害的时间。四个塞利后,1967-68年的时候,UD拉斯帕尔马斯达到他的最好级别。那个塞里的时候,跟皇家马德里俱乐部足球队和巴塞罗那足球俱乐部争取的以后这个西班牙的俱乐部实现了西班牙甲级联赛的第三顺位。下一个赛季,UD拉斯帕尔马斯改善了他的果实,这样踏实过西班牙足球甲级联赛最好球队。9 I3 y0 U* t6 N% U3 e9 A

4 v1 b5 n  p4 U, {1968年的时候在瑞典欧洲杯,西班牙国家队有了四个拉斯帕尔马斯俱乐部的足球运动员。(Tonono, Guedes和Castilian)然后,1970年的时候在墨西哥被,这个大球队召唤了Marrero Martín。
, ]1 k9 L% d4 N/ G, T4 n" K' n, G1 f/ D: z6 C+ ?3 a0 l% Y
从命运的悲怆到阿根廷人的单程(71-83年)
# ]7 m- `2 s# o. V2 a2 |Guedes和Tonono的送别。- y- \2 Z  G4 e, w) p( i8 D
七十年代有了一些恶劣环境。1971年三月份九号Juan Guedes,死了。印象深刻的足球运动员二十八岁的时候就走了。这个事情轰动一时。; J/ y8 z$ j7 j) ]
还这样,UD拉斯帕尔马斯尝试了各种办法,他就修好这个态势。1971-72年的赛季(有Pierre Sinibaldi教练)大加那利亚岛球队再进入欧洲足球比赛。在这个赛季的第二轮拉斯帕尔名马斯俱乐部能赢得很有名的球队,比如说Torino或者Slovan Bratislava.在第三轮FC Twente(荷兰球队)就打败他们。& j# n! T, H' p# I% b
% k5 v& U7 C5 o8 y  g
“1975年的时候因为肝脏感染Tonono,黄色球队的运动员死了。大加那利亚岛俱乐部丢失球队最好支柱之一。”* H( T! u0 _) Z% }( z
阿根廷人到来。
1 F* e( \) w; f7 ~) `, ~$ _8 Z
# B; \9 {  V6 `# ?! ^7 C/ T' x1973-74年的时候UD拉斯帕尔马斯承包了Daniel Carnevali。从这个合同以后从阿根廷拉斯帕尔马斯俱乐部会雇佣一些运动员。那些人, 会是球队的主力。大加那利亚岛球迷也不会忘那个赛季。
& n1 F! g2 {/ O7 ^
3 e% W& a. j: n7 l: t, p. NCarnevali以后Quique Wolff,Carlos Morete和Miguel Angel Brindisi到了.这些外国人所属Miguel Muñoz会做拉斯帕尔马斯球队跟结实。他们在达到欧洲杯。1977-78年拉斯帕尔马斯俱乐部会打败Sloboda Tuzla然后,在第二轮Ipswich Town推翻他们。特在那个赛季,他们达到西班牙王杯的决赛可是他们输了反对巴塞罗那足球俱乐部 (3-1)。
. {5 H8 F( ]# L$ n. a9 z$ x. ]. q& F* R$ t$ ~' r6 c
阿根廷运动人开始离开UD拉斯帕尔马斯因为别的球队要招收他们了。第一个人离开了是Quique Wolff,四年后(76-77年)Carnevali和Brindisi也离开了。1980年的时候Morete就走了。
0 u, Z4 \1 k0 x9 Q- V2 k2 Q9 g, K+ v1 D8 Y" d/ e6 [
保级后十九年在甲级联赛(83-85)
# `7 \6 y' p* V% o2 N5 y( O19接连年在第一级后,在1982-83年的赛季UD拉斯帕尔马斯下去了到第二级。这个俱乐部的狐朋狗友就开始了。这个大事以后,大加那利亚岛的球队就升级了五次。
2 \% a) `4 U/ V: I$ H9 H
: ~% F8 X0 \0 y# ]7 e( s" u一个好中场休息(85-88年)( d9 O( v" S" j! F
1984-1985年的赛季有Roque Olsen教练,两年在第二级以后,第四个提拔到了。他们会延续在第一级到1987-88年的赛季。
) s0 h+ I7 s( l4 n% Q. H
, i9 ~4 K' S) B. _, IUD拉斯帕尔马斯有很多甜蜜的回忆因为在1985-86年的赛季他们在本地球场打败了巴塞罗那足球俱乐部(4-3)和1987-88年的时候皇家马德里足球俱乐部(3-0)。在这个比赛他们进球三次在10分钟的时间。$ y0 `+ q: c  z! c) Y  o8 g3 U/ j

, x6 f. z. n+ j2 \' j% Z别看这两个比赛,他们弄到历史最消极的绩效。他们就下去了到第二级。
% }: u/ Y- H' K6 E9 p+ K4 _6 Z; Y7 }4 e" D. `  `
俱乐部到台(89-00年)
! q& O7 u4 |; W& W6 G% Z+ k8 b1988-89年的赛季表明UD拉斯帕尔马斯最惨重的时期。1991-92年的时候他们表演了四个严重的战役所以他们下去了到第二级B。俱乐部对这个形势不惯用因为他们没玩过在这样的范畴。% X. }9 X$ r# @, {, i& l, r) P7 g

7 X! l4 i0 W+ h' E2 }6 m那些年对大加那利亚岛球队和他的球迷很消沉。终于,有Pacuco Rosales教练的时候在第四个企图他们能升级了到第二级,1995-96年。
6 U+ A* J% J) `, R" J! b) P+ f, ]走向西班牙足球甲级联赛6 O& o$ }5 i9 h

% V2 p9 F( C# r1 X拉斯帕尔马斯俱乐部回第二级的时候有了新的体育管理和一个令人鼓舞的计划。
. C8 V! {' J+ q  E% x1 ]
" G/ X& ^; h9 t' g) z在这个新计划的时间,他们会雇佣Jose Oscar“Turu”Flores,那天的最贵运动员。虽然那个赛季的升至很靠近他们还需要了三年到第一级。1999-2000年,有Sergio Kresic教练的时候,拉斯帕尔马斯俱乐部会是第二级的冠军。终于,十二年后在第二级他们能升级到西班牙足球甲级联赛。- F' v9 X# L! y/ w, Q, X5 f

. }  }+ q( X7 Q. x' w返回精英
3 N1 v4 t$ U; ?7 l2000+2001年的时候Sergio Kresic率领大加那利亚岛的球队了。那个赛季拉斯帕尔马斯俱乐部想延续在第一级了。
& `3 Y% w" X& Q& v+ A; W. y7 d3 L' F7 q+ X/ ?9 w7 H  L
那个赛季也现身了三个俱乐部学校新的足球运动员:Jorge Larena, Guayre和Ánge。Jorge Larena会率俱乐部的下一个赛季了。0 w4 j* ?/ w* r" h0 M

; g( N( [6 N/ o' U  T3 t然后下一个赛季Fernando Vázquez会独当一面俱乐部。在第一轮的时候,UD拉斯帕尔马斯就是在排行榜上边可是在第二轮他们下去了到第二级。他们的梦想就延续了两年。
& l2 Q  t- Y' ?1 l9 \* A  J- `# B2 J/ T
UD拉斯帕尔马斯差点儿消失了(2002-06)
0 J8 O4 m1 q+ V+ m: Z1 q在甲级联赛留UD拉斯帕尔马斯省城了经济的问题。大加那利亚岛球队遗弃了甲级联赛和他的问题长大了。他们在金融危机中损失惨重。  u5 o$ H2 R% k4 q  ^4 A3 L& \
7 p1 A" Q; p0 `8 `! d& m
在第二级新的赛季很惨重,也下去了到第二级B。/ G, }: R7 l2 ?  x3 o1 `

% Y2 s6 Z- C, r9 A" R3 O, P8 K% W2 o2004-05和2005-06年的赛季,因为这个俱乐部的不景气的经济他们惨遭了政府的财务干涉。多亏Cobo Plana法官和Miguel Ángel Ramírez总统(那天的时候他就是一个当地商人和投资者)拉斯帕尔马斯俱乐部会免于死亡。) R$ I) b1 P* C9 @

0 B- u- S5 @" ]' e8 p2 J新的天明(2006-15)
+ z7 A- M, }; u: D在2005-06赛季的时候,大加那利亚岛的俱乐部还清了和他回上去到第二级A。一个茁壮的球队开始他的提拔到他的正常地位。) n! f& R" @1 K" d* q4 Z. h
从那个赛季到2012-2013年的时候,UD拉斯帕尔马斯俱乐部还在第二级,可是他们每天在自学和长大。所以, 有Miguel Ángel Ramírez教练的时候他们能升级了。2015年6月21号“黄色球队”终于能上去了,他在大加那利亚岛的球场打败了皇家萨拉戈萨(2-0)。2 ^& n1 l4 d( \9 p# ], l+ y

- M9 l- n  V, F0 c# |" h* l4 k" r2023年8月,巴萨官方宣布朱利安-阿劳霍租借加盟拉斯帕尔马斯,租期一年时间。 拉斯帕尔马斯官方宣布安道尔FC后卫梅迪纳加盟,双方签约3年时间。曼城官方消息,中场马克西莫·佩罗内租借至拉斯帕尔马斯,租期为23-24赛季。 12月,比埃拉离队。 / i; t, }8 |6 P7 {( D  W

7 Q5 J+ \1 [8 A, I2024年5月,米兰体育与拉斯帕尔马斯俱乐部正式官宣合作。 2024年6月,拉斯帕尔马斯官宣,阿莱士·穆尼奥斯自由转会加盟 ,贾斯珀·西莱森转会加盟 ;买断皇马球员朴马文 。7月,阿龙·埃斯坎德利、萨乌尔·科科、阿尔瓦罗·莱莫斯转会离队,贾努扎伊租借加盟球队,麦克布涅自由身加盟球队 。8月,麦克纳自由身加盟俱乐部 ,法比奥·席尔瓦租借加盟。9月,外租伊万·塞德里克。 10月,主帅路易斯·卡里翁下课 ;同月,拉斯帕尔马斯战胜对手,取得赛季首胜 。11月,西甲第15轮,拉斯帕尔马斯时隔41年再度在客场对阵巴萨的比赛中打入2球 。8 S0 p! `& B" P: n/ P, R
2025年2月,斯特凡·巴伊切蒂奇租借加盟。
! U2 c: r; n$ z6 J/ A; V) c. i7 t& |) Q& f2 ~3 c$ M% q
球队文化:
5 c3 z! [! L9 T" L俱乐部的名字
* t/ W, U9 T' ^& P: U# D俱乐部的创始人之一,讨论漫长的过程后定案了名字。他们需要找一个名字跟以前的五个创始球队有关。( g- c' j1 |' @8 c8 ^" j
清晰,新的名字不能是跟以前的球队的一样。必须是清新的名字。
- ^; x7 k2 i6 H# u当初,他们想到了Deportivo de Canarias名字可是他们快不喜欢了因为能混淆,它参阅全部群岛。他们反射了一些名字可是Las Palmas的是最被誉为了。从全部加那里裙带人的联盟拉斯帕尔马斯俱乐部就出生了。. Z  D! g( A: t- ?5 s
这个名字有很多含义,设计好了来写足球历史页。
; q# O1 D8 u2 u! x" i% j2 c. y
. K3 c6 y" Q$ z" p5 s服装# j9 P2 L8 L, M
UD拉斯帕尔马斯服装从俱乐部历史设立的,在1949年的时候。他的服装有大加那利亚岛得代表性颜色。黄色运动衫,蓝色短裤,有黄色边缘得蓝色袜子。
- g9 O$ }% D; r! |$ e; D1 s: ]拉斯帕尔马斯俱乐部的第二练功服就是以前创始球队的服装。他每年会转的# c5 Q4 g& ~' \4 V& [

9 p- A2 A% U+ D/ q徽章
$ B% h* C& F+ ~# G+ }5 e, {1 s8 W俱乐部历史披头,创设董事会院长后Lázaro Guerra Pérez先生,球队的第一个员工,申请了城市的乡长来代表乡镇的徽章。所以在球队徽章中心您可以看乡镇的盾徽,然后周围是创始球队的徽章:Real Club Victoria, Marino 球队俱乐部,Club Deportivo Gran Canaria, Arenas球队俱乐部和 Athletic俱乐部.
+ O: O3 r- h7 q* Z, n在徽章您可以看一个缎带,在中心和于左就是俱乐部的名字和在右边您可以找到UD拉斯帕尔马斯的地域,加那里群岛。在上面有一个冠冕跟“Real”的意思和Real Club Victoria有关。第一个格式是Simón Doreste y Doreste先生做的。
. i- S2 j  U: K; Z- Z4 k1 ~  c$ c  a: z. D
圣歌) i4 x% O3 a) g" Y/ |/ K* \
在这个章节我们要分析UD拉斯帕尔马斯的圣歌。这个球队有两个凯歌可是在球迷的心里就有一个。球队的第一个圣歌是在拉斯帕尔马斯的球场书面发布了。, |+ k3 [' l3 p, `* @, b2 V; m
这个俱乐部圣歌的第一个分布是在马拉加足球俱乐部的比赛。
; ]" G) G1 O) D; J8 o2 [6 `: C在这个比赛拉斯帕尔马斯球队赢得他的第一个提拔到西班牙足球甲级联赛了。Joseph Truncado先生写的,“在他们上边”。看一下凯歌的歌词:* Q1 Q) f- f0 O$ `+ }
“拉斯帕尔马斯俱乐部/你是最佳11人/世界上没有球队/跟你一样,清朗胜利者/你防御你的文采/你打架跟一个狮子一样/比“Nublo”强壮/哪里你想放你的blasón/拉斯帕尔马斯俱乐部/你是你球迷/在跑出他们的""Riqui-Raca""/对这个号的西班牙球队”。  E7 [. u# Q& Q- M# d
这个圣歌在俱乐部的历史没有连续性所以新的圣歌摄取它了。  c& |9 L% O" L, ^. }' @6 x$ k- G8 H
5 u  k2 K' @6 G
五十年代的时候Gonzalo Monasterio创设这个圣歌了,然后Peón Real大师提供了它的音乐。他是第一个球迷之一,他在一个圣歌的比赛得到了第三名次。
# p0 j" d( N4 N9 t1 T, [也有了另外一个圣歌,Sindo Saavedra写的,可是球迷对这个版本不感兴趣。
+ N" @# I# Y% q. ^  d4 _0 U! f' N' }; P) }0 ?8 L  k
旗子
# C* J( P  `5 ~4 QUD拉斯帕尔马斯的旗子有两个横的线条,黄色的在上边和蓝色的在下边。在旗子中心是球队的徽章。
6 Q& q: [) x7 z& F  p有一个迷乱跟大加那利亚岛的旗子,这个也有一样的颜色可是线条不一样。这个旗子的是横向的。左上部是黄色的和右下是蓝色的。
5 W$ g( u) ~8 v# w% H7 P
" e# G# |2 d: }  u" I# h. Z吉祥物9 q- @6 n$ Z, X3 |8 ]
UD拉斯帕尔马斯的吉祥物叫Pio-Pio,会在每一个大加那利亚岛球场的比赛勉励UD拉斯帕尔马斯的球迷。这个又花花绿绿又滑稽吉祥物已经在振作人们十年多。这个宠物是1949年创设了的俱乐部的一个身份标志。$ I! h9 J' T) v) H' R2 e, Q* W

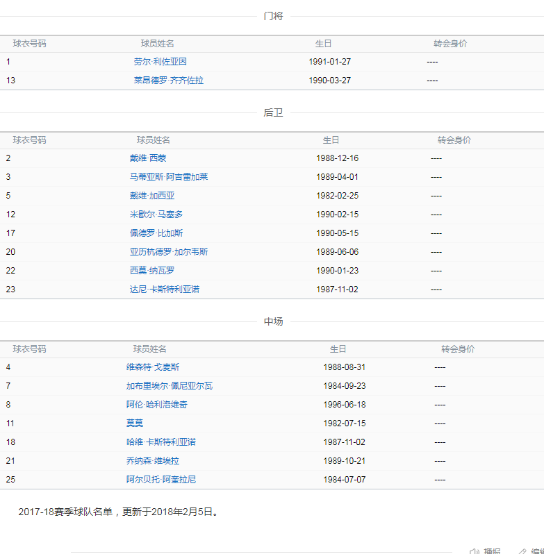
2 y! m1 E$ v0 T/ y8 W5 Q9 h一线队阵容:
8 y! R1 L) N: K/ \8 k; f' k: q$ O' w  A$ C0 ~
一线阵容.png 5 B& j2 V, b$ R* I6 _- d$ |' M

) x/ H5 Z3 B: f" e5 a2 i4 ?# `球队主场:; p9 c7 V" p2 T. I
大加纳利球场位于西班牙加那利群岛,是西班牙足球甲级联赛的拉斯帕尔马斯足球俱乐部的主场,大加纳利球场可容纳33111人,于2003年5月8日正式投入使用。拉斯帕尔马斯足球俱乐部(Unión Deportiva Las Palmas),西班牙加那利群岛拉斯帕尔马斯市的一个足球俱乐部。拉斯帕尔马斯足球俱乐部成立于1949年,后参加西班牙足球甲级联赛。拉斯帕尔马斯足球俱乐部的主场位于大加纳利球场。
; n$ @4 {5 E& n& H2 U( d
  D2 f3 T7 p3 J3 `6 |
7 y' o2 [  q: K0 |( _2 u赛事记录:
1 p5 N0 Y+ f* c" f) F+ H4 H; J( u8 Q( s" L4 R
赛事记录.png % y7 l2 [& K; d3 B; C1 w7 Z6 h

& f: d. ^  o9 \/ ]/ u, C! D
回复

使用道具 举报

36

主题

1万

回帖

3789

金币

千足金牌会员

积分
50064

老会员美女勋章光影行者

发表于 2025-2-11 09:01 | 显示全部楼层
这只球队我还真不熟悉,看下球队的发展史了解一下吧
回复 支持 反对

使用道具 举报

1053

主题

2万

回帖

8569

金币

铂金用户

积分
74633

老会员交易勋章光影行者

发表于 2025-2-11 09:11 | 显示全部楼层
拉斯帕尔马斯竞技在西甲属于中下游了,实力一般,存在感也不强
回复 支持 反对

使用道具 举报

1053

主题

2万

回帖

8569

金币

铂金用户

积分
74633

老会员交易勋章光影行者

发表于 2025-2-11 09:11 | 显示全部楼层
云水谣 发表于 2025-2-11 09:013 z( X9 ~9 f, J, e: V
这只球队我还真不熟悉,看下球队的发展史了解一下吧
; C/ h/ c+ ]5 u& _1 x
谁也不可能哪只球队都熟悉的,多了解一下还是有好处的
回复 支持 反对

使用道具 举报

677

主题

4万

回帖

1063

金币

钻石用户

积分
119586

老会员勤奋勋章交易勋章光影行者

发表于 2025-2-11 09:46 | 显示全部楼层
感谢版主的科普,这个我还真的是不太熟悉的了
回复 支持 反对

使用道具 举报

677

主题

4万

回帖

1063

金币

钻石用户

积分
119586

老会员勤奋勋章交易勋章光影行者

发表于 2025-2-11 09:46 | 显示全部楼层
云水谣 发表于 2025-2-11 09:01) L+ g& K+ m7 Y1 X
这只球队我还真不熟悉,看下球队的发展史了解一下吧

* q# s& g# _+ M) {2 r其实如果不是强队,很多人也是不怎么认识的咯
回复 支持 反对

使用道具 举报

3411

主题

8万

回帖

9623

金币

海燕硕士

积分
236127

万时之王老会员精华勋章勤奋勋章交易勋章光影行者

发表于 2025-2-11 16:53 | 显示全部楼层
这个西班牙的这个俱乐部的这个实力上也是比较一般的,还是可以多去了解一下
回复 支持 反对

使用道具 举报

3411

主题

8万

回帖

9623

金币

海燕硕士

积分
236127

万时之王老会员精华勋章勤奋勋章交易勋章光影行者

发表于 2025-2-11 16:54 | 显示全部楼层
ronald263 发表于 2025-2-11 09:46
0 N( t7 f+ e: K! d5 m7 X/ w4 i其实如果不是强队,很多人也是不怎么认识的咯
# ^* E/ ?. q2 ^5 N) |
其实这个球的话还真的不算是什么强队的,这个球员的实力也是比较一般的
回复 支持 反对

使用道具 举报

3411

主题

8万

回帖

9623

金币

海燕硕士

积分
236127

万时之王老会员精华勋章勤奋勋章交易勋章光影行者

发表于 2025-2-11 16:54 | 显示全部楼层
飞舞倾城 发表于 2025-2-11 09:114 k+ D! h+ u8 h0 @% L9 E' d. X
拉斯帕尔马斯竞技在西甲属于中下游了,实力一般,存在感也不强

+ Z9 t3 n" h% Y就算是存在感不强的话,还是为虚假的这个精彩的比赛奉献了很多的
回复 支持 反对

使用道具 举报

480

主题

3万

回帖

4665

金币

铂金用户

积分
84327

老会员美女勋章勤奋勋章交易勋章

发表于 2025-2-11 19:41 | 显示全部楼层
这个足球队没有什么了解,版主的分享是很不错的
回复 支持 反对

使用道具 举报

799

主题

3320

回帖

1025

金币

版主

积分
12161

老会员版主勋章

发表于 2025-2-11 20:43 | 显示全部楼层
这球队全名倒是够长的,吸引我进来看看
回复 支持 反对

使用道具 举报

62

主题

4万

回帖

617

金币

钻石用户

积分
121839

万时之王老会员勤奋勋章交易勋章光影行者

发表于 2025-2-11 21:06 | 显示全部楼层
感谢老哥分享的这个信息的了, 也是可以看看了解下,多多关注西必须的了!
回复 支持 反对

使用道具 举报

1544

主题

8万

回帖

1万

金币

海燕硕士

积分
241338

万时之王老会员精华勋章勤奋勋章交易勋章光影行者

发表于 2025-2-12 07:37 | 显示全部楼层
拉斯帕尔马斯俱乐部也是非常熟悉的,可惜就是实力有点太弱了呢
回复 支持 反对

使用道具 举报

1544

主题

8万

回帖

1万

金币

海燕硕士

积分
241338

万时之王老会员精华勋章勤奋勋章交易勋章光影行者

发表于 2025-2-12 07:37 | 显示全部楼层
海燕体育 发表于 2025-2-11 20:43. {& B7 Y9 W. c) O# C+ W: O
这球队全名倒是够长的,吸引我进来看看

) Z9 d6 q/ d* c7 u以前去下注的时候都是叫帕尔马的,没有想到全称会有这么长的名字啊
回复 支持 反对

使用道具 举报

1544

主题

8万

回帖

1万

金币

海燕硕士

积分
241338

万时之王老会员精华勋章勤奋勋章交易勋章光影行者

发表于 2025-2-12 07:38 | 显示全部楼层
奔四 发表于 2025-2-11 21:06
1 }7 ]' m5 h& k' f( \; r感谢老哥分享的这个信息的了, 也是可以看看了解下,多多关注西必须的了!  ...

" V( {2 O7 I8 h6 R. l" U还是可以跟着版主去了解一下的,相信是可以能够帮助到我们的呢
回复 支持 反对

使用道具 举报

您需要登录后才可以回帖 登录 | 立即注册

本版积分规则

广告合作|福利汇|论坛简介|钱包教程|手机版|小黑屋|Archiver|海燕论坛

快速回复 返回顶部 返回列表