找回密码
 立即注册
澳门威尼斯人
U8
U18
海燕招商
A
蓝盾
e世博
islot.
申博亚洲
澳门银河
B
开云
腾博会
德信
C级广告商
吉祥坊
华体会
查看: 26036|回复: 74

[彩票] 【实战有奖】威尼斯人台湾宾果连挂后稳收,亏损2450止步

[复制链接]

86

主题

2万

回帖

2727

金币

千足金牌会员

积分
65437

老会员交易勋章魅力达人

发表于 2025-10-6 16:17 | 显示全部楼层 |阅读模式

马上注册,结交更多好友,享用更多功能,让你轻松玩转社区。

您需要 登录 才可以下载或查看,没有账号?立即注册

×
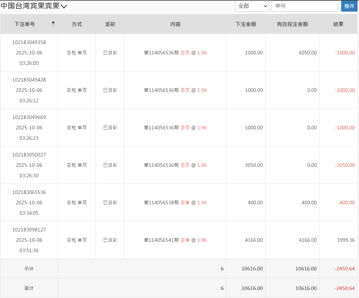
今天下午打了台湾宾果这一轮,整体过程挺曲折,但也算控制住了节奏。大概从下午三点左右开始进场,当时看走势总和“双”连开几期,手痒了,于是轻仓试单。原本打算随便玩玩,结果越看越不对劲,单双频繁切换,让人有点摸不清节奏。. P- G8 U- g$ |1 U& K& O

2 {2 L1 Z0 L4 `3 K" g, u0 Z$ n/ z这轮总共下了六单,前几把基本都在试探走势。结果连续几期都反着来,尤其是那笔3050的“总双”,被直接吃掉,账面一口气红到三千多。那一瞬间心态确实有点晃,手差点又去补仓。后来想到之前吃亏的经验,强行让自己停手,看完那期结果就去洗了个脸。$ G9 u& w: |% m% \
, _# [' ?: ^: w
回来后重新看走势图,发现节奏有点回稳,于是再上两把“总单”试水。最后一单我加到4166,打的第114056541期,终于中回来了3999.36,这口气算是稳了。整盘下来,亏了2450左右,折合人民币不到两千。7 O" k! Q& @& h1 U# g( ~' G/ I
# x- r0 h. j1 ?2 T/ h) H
账面上虽然是负的,但我个人觉得这轮打得比前几次更“成熟”——不是赢多少的问题,而是我终于没再乱追。这次BBIN那边转入了10616,转出回大厅时剩8165,虽然账面亏损,但过程有节制、心态稳,算是一次小考合格。2 Y; N# A$ K1 c/ ?: X! n4 I

7 R) r, ~7 J; y+ V  e, R  a过去我常常一看挂单就想加码“赢回来”,结果反而输更惨。现在我学会了一件事:赢钱靠机会,止损靠自律。只要不被情绪带走,长期来看反而能少损多赢。
3 Q( m. l( ^$ o% A) b  Q. _0 z, G+ ?6 |, a: z. y1 b
另外,这轮台湾宾果的走势挺诡异的,总和单双跳得快,没有出现连续7期以上的连号。下午那段时间尤其乱,建议后面玩这盘口的兄弟们注意节奏,不要被短线结果误导。可以像我这样——前几期用小注探路,等走势方向稳定后再加码。3 ?" u! e5 w0 p8 B
: ^- n$ f  q" ?5 i7 V1 f
这次我还特地看了下注明细,总金额10616,有效投注全打满,亏损-2450.64。虽然是红的,但我反而挺高兴,因为这说明我守住了底线:没追加、没爆仓。
3 n5 G' L9 `( S) R9 @) p' m+ |
) _0 {: j2 v3 |1 v最后总结一句:0 ^/ z9 P. D. _; O% e' N
输钱不可怕,乱输才可怕;稳得住,才是真正的赢。
1 q) Q3 |: j9 c/ z+ Z
: p1 _& V& h" W0 }0 B这两天论坛不少人也在分享台湾盘的节奏,我的经验是——宁可打慢,也不要乱节奏。未来几天我会继续观察走势,等连号或规律性区间出来,再考虑加仓。今天就到这,休息一会,晚上再看情况。
3 Z8 m7 ~' ~0 n( k) v5 Q8 Z6 }
6 q( y& W3 J! V3 b4 ?: R8 \- b% W# S QQ20251006-160203.png QQ20251006-160102.png
, m: `+ O* f1 d0 h1 q  \! A% y. }" x( L
( d' l8 t5 R8 n& d8 O, Q0 a
回复

使用道具 举报

1

主题

4994

回帖

4198

金币

金牌会员

积分
23389

老会员

发表于 2025-10-6 16:22 | 显示全部楼层
楼主亏损了还是要止损,回血了一大半还是挺不错了
回复 支持 反对

使用道具 举报

197

主题

6859

回帖

148

金币

银牌会员

积分
13995

老会员交易勋章

发表于 2025-10-6 17:56 | 显示全部楼层
你还玩这个啊,我是真没玩过这类彩票,是彩票没错吧,止损做到位就好
回复 支持 反对

使用道具 举报

7

主题

1万

回帖

7057

金币

千足金牌会员

积分
67376

光影行者

发表于 2025-10-6 19:37 | 显示全部楼层
3050那把真够呛,能忍住不补仓已经赢一半,节奏乱时洗脸是个好招
回复 支持 反对

使用道具 举报

3400

主题

4万

回帖

4062

金币

钻石用户

积分
116605

万时之王老会员勤奋勋章交易勋章

发表于 2025-10-6 19:48 | 显示全部楼层
老哥还是低调点吧, 亏损2450, 也是输太多了, 还是要及时收手,真不敢继续了
回复 支持 反对

使用道具 举报

3400

主题

4万

回帖

4062

金币

钻石用户

积分
116605

万时之王老会员勤奋勋章交易勋章

发表于 2025-10-6 19:49 | 显示全部楼层
蔬菜沙拉 发表于 2025-10-6 19:37% e$ a) {" k" R! W3 }
3050那把真够呛,能忍住不补仓已经赢一半,节奏乱时洗脸是个好招

  Z4 e: l% @: @( @+ C9 C% `玩菠菜还是量力而行吧, 别玩太大了, 输太多了, 也是很影响心情了。
回复 支持 反对

使用道具 举报

3400

主题

4万

回帖

4062

金币

钻石用户

积分
116605

万时之王老会员勤奋勋章交易勋章

发表于 2025-10-6 19:49 | 显示全部楼层
二电厂哥 发表于 2025-10-6 17:56$ i3 {+ K' _/ s) c
你还玩这个啊,我是真没玩过这类彩票,是彩票没错吧,止损做到位就好

2 K  U5 p; k# Z8 V9 o2 I# O: R亏损了2450也是输太多了, 这钱能干很多事的了啊, 也是很遗憾了。
回复 支持 反对

使用道具 举报

3400

主题

4万

回帖

4062

金币

钻石用户

积分
116605

万时之王老会员勤奋勋章交易勋章

发表于 2025-10-6 19:50 | 显示全部楼层
shunlifeiup 发表于 2025-10-6 16:22% G$ [/ p' _" E& c$ T3 d
楼主亏损了还是要止损,回血了一大半还是挺不错了

4 D% c3 Z4 Q( c2 r; M) Z损失惨重了呀, 输了这么多, 想回血都是很困难了啊, 还是休息冷静一下吧。
回复 支持 反对

使用道具 举报

365

主题

1554

回帖

6200

金币

银牌会员

积分
16542

老会员交易勋章

发表于 2025-10-6 21:07 | 显示全部楼层
能够及时做到止损啊 还是很不容易的   及时调整吧!
回复 支持 反对

使用道具 举报

52

主题

2万

回帖

2485

金币

千足金牌会员

积分
67685

老会员光影行者

发表于 2025-10-7 02:34 | 显示全部楼层
别急着追,理性把握,稳住节奏,总会有赚钱的时候,节制至关重要
回复 支持 反对

使用道具 举报

52

主题

2万

回帖

2485

金币

千足金牌会员

积分
67685

老会员光影行者

发表于 2025-10-7 02:34 | 显示全部楼层
蔬菜沙拉 发表于 2025-10-6 19:37% n1 a7 \* }' b- ^1 x
3050那把真够呛,能忍住不补仓已经赢一半,节奏乱时洗脸是个好招
7 R5 }8 }- f8 H; ^6 s# V
3050那把确实有点狼狈,不过威尼斯人台湾宾果稳住节奏,亏损2450也算是及时止损
回复 支持 反对

使用道具 举报

2373

主题

8万

回帖

7718

金币

海燕硕士

积分
224422

老会员超级精华精华勋章美女勋章勤奋勋章交易勋章万时之王

发表于 2025-10-7 05:46 | 显示全部楼层
输掉了2000多块能够止损离开也是比较理智的一个人吧
回复 支持 反对

使用道具 举报

2373

主题

8万

回帖

7718

金币

海燕硕士

积分
224422

老会员超级精华精华勋章美女勋章勤奋勋章交易勋章万时之王

发表于 2025-10-7 05:46 | 显示全部楼层
whywhy 发表于 2025-10-7 02:34
  S# S, t5 \+ A3050那把确实有点狼狈,不过威尼斯人台湾宾果稳住节奏,亏损2450也算是及时止损 ...
' F8 M7 C6 j  F& J0 m
反正自己的节奏要把握好,不然输的就是自己的钱
回复 支持 反对

使用道具 举报

2373

主题

8万

回帖

7718

金币

海燕硕士

积分
224422

老会员超级精华精华勋章美女勋章勤奋勋章交易勋章万时之王

发表于 2025-10-7 05:46 | 显示全部楼层
whywhy 发表于 2025-10-7 02:34
0 u. p; n1 g! p& ~别急着追,理性把握,稳住节奏,总会有赚钱的时候,节制至关重要

2 V3 x) m( G/ C4 m这个节奏导致的亏损也是没有办法的事,毕竟输了这么多
回复 支持 反对

使用道具 举报

2373

主题

8万

回帖

7718

金币

海燕硕士

积分
224422

老会员超级精华精华勋章美女勋章勤奋勋章交易勋章万时之王

发表于 2025-10-7 05:46 | 显示全部楼层
莫扎特06 发表于 2025-10-6 19:49  N) s+ q7 H6 M7 e1 W" I2 P  [
亏损了2450也是输太多了, 这钱能干很多事的了啊, 也是很遗憾了。
5 g5 y7 z# `7 ]9 s5 v
输的太多也是要想办法把它搞回来,不然也是难受
回复 支持 反对

使用道具 举报

您需要登录后才可以回帖 登录 | 立即注册

本版积分规则

广告合作|福利汇|论坛简介|钱包教程|手机版|小黑屋|Archiver|海燕论坛

快速回复 返回顶部 返回列表