找回密码
 立即注册
澳门威尼斯人
U8
U18
海燕招商
A
蓝盾
e世博
islot.
申博亚洲
澳门银河
B
腾博会
德信
C级广告商
吉祥坊
查看: 125|回复: 14

[彩票] 彩票运气不错的,保持盈利190多块钱

 火.. [复制链接]

72

主题

2766

回帖

617

金币

铜牌用户

积分
8267

老会员

发表于 2026-4-12 03:07 | 显示全部楼层 |阅读模式

马上注册,结交更多好友,享用更多功能,让你轻松玩转社区。

您需要 登录 才可以下载或查看,没有账号?立即注册

×
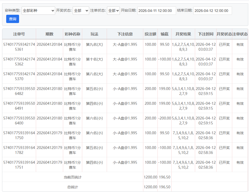
每天的策略坚持下来,收米算是有点进步;保持比特币彩票三定位两面玩法,获利还有机会的,。收190多块钱;( z  {  h* Y; y

2 e* P8 I' D. r  V2 C  g( h1 T% n, ]+ i0 i; p+ S2 E
2.jpg ( F2 c. l" _4 x) N  F% B% l
1.jpg
/ ~: C  k* E2 U% M5 X9 {. b

评分

参与人数 1金币 +6 收起 理由
海燕RG + 6 实战分享

查看全部评分

回复

使用道具 举报

8

主题

1万

回帖

3983

金币

千足金牌会员

积分
54898

老会员光影行者

发表于 2026-4-12 06:12 | 显示全部楼层
策略稳定确实能带来点甜头,190多块到手感觉还挺踏实,继续保持这节奏
回复 支持 反对

使用道具 举报

0

主题

3862

回帖

7562

金币

金牌会员

积分
26510
发表于 2026-4-12 06:13 | 显示全部楼层
坚持策略真没白下功夫,三定位两面玩法能稳收190多,这小进步挺实在,别飘继续保持节奏呀
回复 支持 反对

使用道具 举报

1214

主题

3万

回帖

963

金币

铂金用户

积分
94709

老会员交易勋章光影行者

发表于 2026-4-12 07:08 来自手机 | 显示全部楼层
最终这个成绩还是很不错的了,也是蛮开心的吧。
回复 支持 反对

使用道具 举报

1214

主题

3万

回帖

963

金币

铂金用户

积分
94709

老会员交易勋章光影行者

发表于 2026-4-12 07:09 来自手机 | 显示全部楼层
bai 发表于 2026-4-12 06:12( V. d6 w/ L: z9 `$ n) ~
策略稳定确实能带来点甜头,190多块到手感觉还挺踏实,继续保持这节奏

& M7 p' {4 f& E3 ?! v! |  a4 M有好的节奏还是保持着继续加油吧。
回复 支持 反对

使用道具 举报

1214

主题

3万

回帖

963

金币

铂金用户

积分
94709

老会员交易勋章光影行者

发表于 2026-4-12 07:09 来自手机 | 显示全部楼层
NO.2 发表于 2026-4-12 06:130 x/ U  R4 t, X- Y
坚持策略真没白下功夫,三定位两面玩法能稳收190多,这小进步挺实在,别飘继续保持节奏呀 ...
( u' `% p# J9 _: n9 x
有个好的方法的话,那就坚持使用下去了。
回复 支持 反对

使用道具 举报

52

主题

2万

回帖

1万

金币

铂金用户

积分
94425

老会员光影行者

发表于 2026-4-12 08:53 | 显示全部楼层
每天坚持自己的玩法,能稳定有收获确实挺踏实的,190多块也是不错的成果了
回复 支持 反对

使用道具 举报

52

主题

2万

回帖

1万

金币

铂金用户

积分
94425

老会员光影行者

发表于 2026-4-12 08:54 | 显示全部楼层
猴哥打野 发表于 2026-4-12 07:08
$ v. d; Y) i# @5 p# d! @1 ~) I1 q最终这个成绩还是很不错的了,也是蛮开心的吧。
! }* G0 @+ @+ _4 W0 a7 u, _
盈利快两百块确实值得开心,这成绩能保持住就更好了
回复 支持 反对

使用道具 举报

5

主题

7061

回帖

7352

金币

金牌会员

积分
35699
发表于 2026-4-12 09:21 | 显示全部楼层
可以保持盈利的结果还是非常漂亮的了
回复 支持 反对

使用道具 举报

5

主题

7061

回帖

7352

金币

金牌会员

积分
35699
发表于 2026-4-12 09:21 | 显示全部楼层
whywhy 发表于 2026-4-12 08:535 b1 b: f+ j# I, T. e5 _. M9 J2 t2 D
每天坚持自己的玩法,能稳定有收获确实挺踏实的,190多块也是不错的成果了 ...

5 |5 a& [5 m$ g1 |* D9 [1 i希望是可以能够每天都坚持这样的玩法的了
回复 支持 反对

使用道具 举报

5

主题

7061

回帖

7352

金币

金牌会员

积分
35699
发表于 2026-4-12 09:21 | 显示全部楼层
whywhy 发表于 2026-4-12 08:543 A; b* ]5 n, E
盈利快两百块确实值得开心,这成绩能保持住就更好了
( r% T! }4 E3 E
楼主盈利了这么多钱,肯定也是会非常开心的事情了
回复 支持 反对

使用道具 举报

8

主题

5415

回帖

8189

金币

金牌会员

积分
32498
发表于 2026-4-12 13:29 | 显示全部楼层
可以有这么多的盈利也是会非常高兴的了
回复 支持 反对

使用道具 举报

8

主题

5415

回帖

8189

金币

金牌会员

积分
32498
发表于 2026-4-12 13:30 | 显示全部楼层
山区奥特曼 发表于 2026-4-12 09:21
& g  f$ b. ^( d5 s. V' ~( k8 N! J希望是可以能够每天都坚持这样的玩法的了
% ~8 I' n: }; o' p
相信是可以能够每天都会这样的赚钱吧
回复 支持 反对

使用道具 举报

8

主题

5415

回帖

8189

金币

金牌会员

积分
32498
发表于 2026-4-12 13:30 | 显示全部楼层
山区奥特曼 发表于 2026-4-12 09:210 ?9 \9 ^  P/ y2 S+ D! H' ~
楼主盈利了这么多钱,肯定也是会非常开心的事情了

) I9 M9 Y( I% z# u! B相信是会非常让人开心的事情了
回复 支持 反对

使用道具 举报

42

主题

432

回帖

2631

金币

铜牌用户

积分
6810
发表于 2026-4-12 15:32 | 显示全部楼层
真是非常给力的节奏,把握好策略,赢钱机会很大的
回复 支持 反对

使用道具 举报

您需要登录后才可以回帖 登录 | 立即注册

本版积分规则

广告合作|福利汇|论坛简介|钱包教程|手机版|小黑屋|Archiver|海燕论坛

快速回复 返回顶部 返回列表