找回密码
 立即注册
澳门威尼斯人
U8
U18
海燕招商
A
蓝盾
e世博
islot.
申博亚洲
澳门银河
B
腾博会
德信
C级广告商
吉祥坊
查看: 619|回复: 58

[彩票] 晚上的彩票游戏节奏保持的稳定收500多块钱

[复制链接]

79

主题

2796

回帖

828

金币

铜牌用户

积分
8821

老会员

发表于 2026-4-20 02:52 | 显示全部楼层 |阅读模式

马上注册,结交更多好友,享用更多功能,让你轻松玩转社区。

您需要 登录 才可以下载或查看,没有账号?立即注册

×
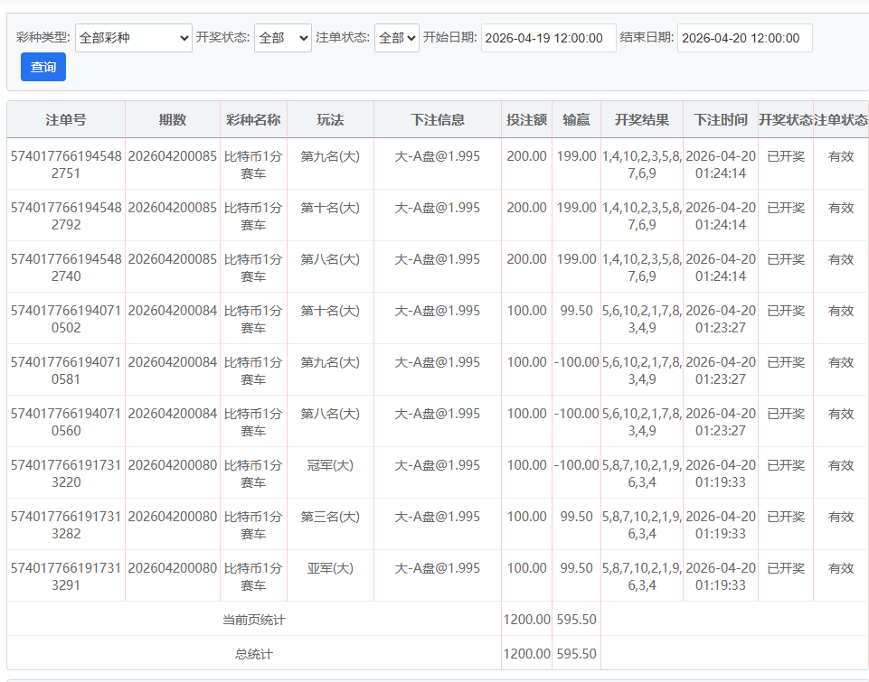
更多还是需要自己的游戏策略才有稳定的机会进一步收米,这段时间都是坚持三定位两面玩法,结果4月份一共收米了2000多。
2 k# O5 Z9 Y6 X
/ X9 k  E- v- }; b# p% [1 O2 A7 ^/ M- T
6.jpg
* l& i; \& c. k, l) K 1.jpg , n5 f' X& p- y: @  i& L% F

评分

参与人数 1金币 +8 收起 理由
海燕RG + 8 实战分享

查看全部评分

回复

使用道具 举报

6

主题

4778

回帖

3413

金币

金牌会员

积分
20954
发表于 2026-4-20 06:14 | 显示全部楼层
三定位两面玩法坚持下来居然收两千多,晚上还稳定拿五百多,看来选对路子加稳扎稳打才靠谱,这节奏可以啊
回复 支持 反对

使用道具 举报

8

主题

1万

回帖

5784

金币

千足金牌会员

积分
61199

老会员光影行者

发表于 2026-4-20 06:21 | 显示全部楼层
保持策略确实重要,三定位两面玩法的确能稳定不少,这四月份的战绩真不错
回复 支持 反对

使用道具 举报

2560

主题

8万

回帖

2242

金币

海燕硕士

积分
226386

老会员超级精华精华勋章美女勋章勤奋勋章交易勋章万时之王

发表于 2026-4-20 07:43 | 显示全部楼层
有一个好的节奏确实是可以赚到钱的呀
回复 支持 反对

使用道具 举报

2560

主题

8万

回帖

2242

金币

海燕硕士

积分
226386

老会员超级精华精华勋章美女勋章勤奋勋章交易勋章万时之王

发表于 2026-4-20 07:43 | 显示全部楼层
bai 发表于 2026-4-20 06:217 u2 h4 L6 X% F3 R7 z! c* {
保持策略确实重要,三定位两面玩法的确能稳定不少,这四月份的战绩真不错 ...
) E2 i4 X+ p8 S  I
保持这样的重要性也是不容易的事情
回复 支持 反对

使用道具 举报

53

主题

2万

回帖

1万

金币

钻石用户

积分
100755

老会员光影行者

发表于 2026-4-20 08:57 | 显示全部楼层
三定位两面能坚持下来确实不容易,四月两千多的收获也说明策略执行到位了
回复 支持 反对

使用道具 举报

53

主题

2万

回帖

1万

金币

钻石用户

积分
100755

老会员光影行者

发表于 2026-4-20 08:57 | 显示全部楼层
杨雪儿 发表于 2026-4-20 07:434 A4 H) w; q6 O
有一个好的节奏确实是可以赚到钱的呀

: E* t5 G# p# J! W- r# ?4 B3 j/ ~' a5 [节奏稳了心态就稳,盈利自然跟着来,这状态保持得真不错
回复 支持 反对

使用道具 举报

53

主题

2万

回帖

1万

金币

钻石用户

积分
100755

老会员光影行者

发表于 2026-4-20 08:58 | 显示全部楼层
杨雪儿 发表于 2026-4-20 07:43
& Z! q  ^0 L- G. ^/ w9 A保持这样的重要性也是不容易的事情
- u- d6 `5 E- x- b- j. B
能稳住节奏确实关键,这五百多块的收获就是耐心最好的回报了
回复 支持 反对

使用道具 举报

8

主题

8621

回帖

1万

金币

千足金牌会员

积分
47423
发表于 2026-4-20 09:03 | 显示全部楼层
可以收米这么多钱也是非常厉害的了
回复 支持 反对

使用道具 举报

8

主题

8621

回帖

1万

金币

千足金牌会员

积分
47423
发表于 2026-4-20 09:03 | 显示全部楼层
杨雪儿 发表于 2026-4-20 07:43, {; a) l/ N9 z4 H
有一个好的节奏确实是可以赚到钱的呀

/ q4 U. D' g0 @9 l大家都是希望可以能够每天都有好节奏赚钱的
回复 支持 反对

使用道具 举报

8

主题

8621

回帖

1万

金币

千足金牌会员

积分
47423
发表于 2026-4-20 09:03 | 显示全部楼层
杨雪儿 发表于 2026-4-20 07:43
7 C) N0 C$ X0 N4 W! \, z保持这样的重要性也是不容易的事情
6 o/ V( x% d+ M" P9 V2 D4 `
这个确实是非常不容易的事情了
回复 支持 反对

使用道具 举报

11

主题

6973

回帖

8658

金币

金牌会员

积分
38072
发表于 2026-4-20 12:32 | 显示全部楼层
这样的收入也是会非常高兴的了
回复 支持 反对

使用道具 举报

11

主题

6973

回帖

8658

金币

金牌会员

积分
38072
发表于 2026-4-20 12:32 | 显示全部楼层
山区奥特曼 发表于 2026-4-20 09:037 Z3 Z0 \; J" D! w% R" U
大家都是希望可以能够每天都有好节奏赚钱的
( X$ _$ y: W; S1 ]! V; H
如果能够每天都会有好节奏就更爽的了
回复 支持 反对

使用道具 举报

11

主题

6973

回帖

8658

金币

金牌会员

积分
38072
发表于 2026-4-20 12:32 | 显示全部楼层
山区奥特曼 发表于 2026-4-20 09:03
8 n1 A9 t, ~: G% A. `这个确实是非常不容易的事情了

$ \: R. H0 }3 D- w确实是非常不容易的事情了呢
回复 支持 反对

使用道具 举报

3

主题

5275

回帖

4044

金币

金牌会员

积分
23475
发表于 2026-4-20 12:57 | 显示全部楼层
这三定位两面的玩法挺扎实,4月进账两千多,全靠自家琢磨的策略,比瞎撞靠谱多了
回复 支持 反对

使用道具 举报

您需要登录后才可以回帖 登录 | 立即注册

本版积分规则

广告合作|福利汇|论坛简介|钱包教程|手机版|小黑屋|Archiver|海燕论坛

快速回复 返回顶部 返回列表